Q71F意式不銹鋼超短型球閥
Q71F意式不銹鋼超短型球閥與普通球閥相比,具有重量輕、結構長度短、節省材料、安裝方便等顯著的優點。此外,該閥門的閥座采用彈性密封結構,啟閉輕松,密封可靠。
產品概述
Q71F意式不銹鋼超短型球閥與普通球閥相比,具有重量輕、結構長度短、節省材料、安裝方便等顯著的優點。此外,該閥門的閥座采用彈性密封結構,啟閉輕松,密封可靠。設有耐火結構,萬一發生火災時,仍然能夠可靠操作并具有良好的密封性。
主要特點
1.公稱壓力:1.6-2.5MPa
2.適用溫度范圍:-20~232℃-350℃
3.適用介質:水、油、氣及某些腐蝕液體(W.O.G)
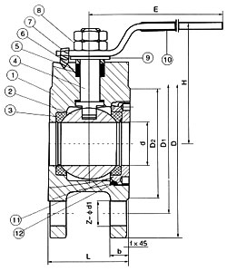
零件材料

| 序號 | 零件名稱 | 材質 | |
| 1 | 閥體 | 不銹鋼CF8M/CF8 | 碳鋼WCB |
| 2 | 球 | 不銹鋼316/304 | 不銹鋼SS304 |
| 3 | 密封墊 | 聚四氟乙稀PTFE | 聚四氟乙稀PTFE |
| 4 | 閥桿 | 不銹鋼316/304 | 不銹鋼SS304 |
| 5 | 填料 | 聚四氟乙烯PTFE | 聚四氟乙烯PTFE |
| 6 | 定位鎖 | 不銹鋼304 | 不銹鋼SS304 |
| 7 | 手柄 | 不銹鋼304 | 不銹鋼SS304 |
| 8 | 閥桿螺母 | 不銹鋼304 | 不銹鋼SS304 |
| 9 | 填料壓蓋 | 不銹鋼304 | 不銹鋼SS304 |
| 10 | 手柄套 | 塑料 | 塑料 |
| 11 | 密封瓶帽 | 不銹鋼316/304 | 不銹鋼316/304 |
| 12 | 墊圈 | 聚四氟乙稀PTFE | 聚四氟乙稀PTFE |
連接尺寸
| SIZE | 1/2″ | 3/4″ | 1″ | 11/4″ | 11/2″ | 2″ | 21/2″ | 3″ | 4″ | 5″ | 6″ | 8″ |
| D | 15 | 19 | 23.5 | 30 | 36 | 45 | 58 | 67 | 76 | 100 | 125 | 195 |
| L | 32 | 38.5 | 45 | 44 | 62 | 72 | 95 | 120 | 145 | 200 | 225 | 275 |
| D | 95 | 105 | 115 | 135 | 145 | 160 | 180 | 195 | 215 | 245 | 280 | 335 |
| D1 | 65 | 75 | 85 | 100 | 110 | 125 | 145 | 160 | 180 | 210 | 240 | 295 |
| D2 | 45 | 55 | 65 | 78 | 85 | 100 | 120 | 135 | 155 | 185 | 210 | 265 |
| H | 62 | 70 | 79 | 86 | 92 | 102 | 158 | 172 | 187 | 200 | 240 | 278 |
| E | 110 | 125 | 135 | 150 | 150 | 180 | 250 | 300 | 350 | 650 | 840 | 1000 |
| B | 14 | 14 | 16 | 16 | 18 | 20 | 22 | 24 | 24 | 26 | 26 | 28 |
| z-d1 | 4-14 | 4-14 | 4-14 | 4-18 | 4-18 | 4-18 | 4-18 | 8-18 | 8-18 | 8-18 | 8-23 | 12-20 |
| f | 2 | 2 | 2 | 3 | 3 | 3 | 3 | 3 | 3 | 3 | 3 | 3 |
|
||||||||||||||||||||||||
![]() |
||||||||||||||||||||||||
| ||||||||||||||||||||||||










